Inventor brasileiro cria suporte interno para mochilas que promete entregas perfeitas
Em meio ao crescente uso de aplicativos de delivery, inúmeros restaurantes têm enfrentado avaliações negativas devido aos alimentos chegarem revirados em suas embalagens. O motivo por trás dessa situação é a pressa dos motoboys, que precisam lidar com a alta demanda de entregas diariamente. Porém, o inventor brasileiro Marivaldo Alves da Silva, membro da Associação Nacional dos Investores (ANI), decidiu enfrentar esse problema e criou uma solução inovadora: o Trava-Bags.
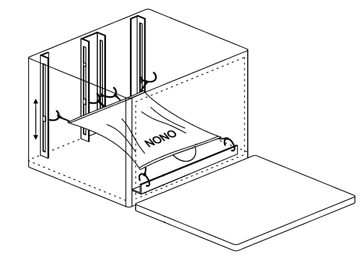
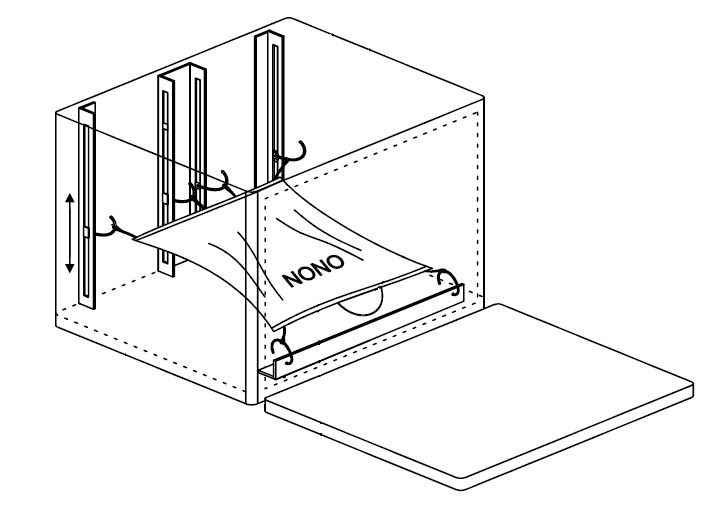
O Trava-Bags consiste em um suporte interno para as mochilas de entrega utilizadas por motoboys, desenvolvido com o objetivo de garantir que as refeições encomendadas cheguem em perfeito estado para o cliente. Esse equipamento é composto por uma rede elástica, onde o alimento é preso dentro da mochila de entrega, impedindo que ele se mova ou seja revirado durante o trajeto.
Marivaldo Alves da Silva destaca a importância de investimentos na área de entrega de alimentos para otimizar a qualidade e a satisfação dos clientes. Ele acredita que o Trava-Bags pode ser uma solução eficaz para restaurantes e empresas de delivery que buscam melhorar sua reputação e evitar avaliações negativas.
“Com a implementação do Trava-Bags, os motoboys poderão realizar suas entregas com mais segurança e garantir que os alimentos cheguem aos clientes sem sofrerem danos. Além de evitar reviramentos, o suporte interno também contribuirá para a conservação da temperatura e qualidade dos pratos, agregando valor à experiência do serviço de delivery”, ressalta o inventor.
Com a perspectiva de atrair investidores interessados em sua inovação, Marivaldo Alves da Silva espera que o Trava-Bags se torne uma ferramenta padrão para os motoboys e contribua para aprimorar o setor de entregas como um todo.
“A ideia de Marivaldo Alves da Silva reforça a importância do empreendedorismo e da busca por soluções criativas para os desafios enfrentados pelas empresas do setor de delivery. A iniciativa de inventores como ele demonstra como é possível transformar problemas em oportunidades, oferecendo melhorias significativas para o mercado e os consumidores”, afirma a diretora da ANI, Daniela Mazzei.
Com a patente requerida junto ao Instituto Nacional de Propriedade Industrial (INPI) e a busca por investidores, Marivaldo Alves da Silva está confiante de que o Trava-Bags em breve poderá ser encontrado em mochilas de motoboys de todo o país, garantindo entregas perfeitas e satisfação para restaurantes, motoboys e clientes.
Para mais informações e para conhecer outros projetos inovadores, entre em contato com a Associação Nacional dos Inventores (ANI). A ANI é uma instituição dedicada ao apoio e divulgação de projetos inovadores, e terá prazer em fornecer detalhes adicionais sobre essa incrível criação.
Serviço:
Associação Nacional dos Inventores (ANI)
Endereço: Rua Dr. Homem Melo, 1109, São Paulo (SP)
Contato: (11) 3670-3411 | (11) 94738-4249
Site: www.inventores.com.br
Facebook: inventores.com.br
Instagram: @aniinventores






Publicar comentário